》》》天津社保补缴单位应收核定单位征集核定单打印流程
【办理入口】
天津市人社局网上办事大厅
【业务功能】
单位用户可在此模块办理完成当月应收核定后,查询单位核定明细信息,供单位参考,不作为税务申报缴费用途 。
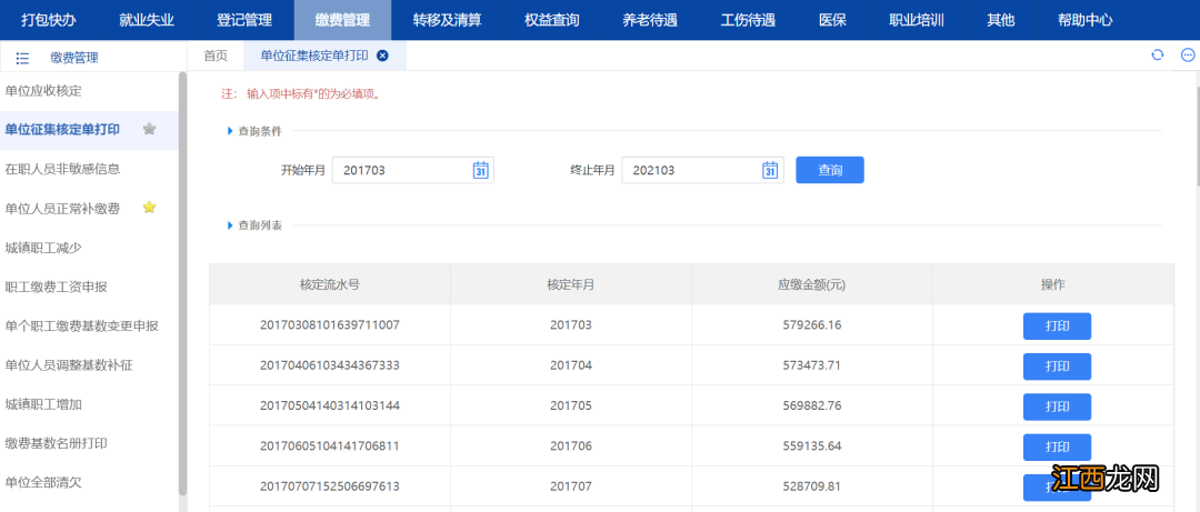
【界面图示】

文章插图
【操作描述】
1、点击“缴费管理”-“单位征集核定单打印” 。
2、输入开始年月、终止年月,点击“查询”,查询出核定记录 。
【天津社保补缴单位应收核定单位征集核定单打印流程】3、选择一条核定记录,点击“打印”,可以打印《征集核定单》 。
相关经验推荐
- 暂时没有找到合适的单位如何缴纳天津养老保险?
- 天津社保中断能补缴吗? 天津社保中断能补缴吗新农合
- 社保卡电子证照和电子社保卡有什么不同?
- 天津社保断缴有哪些影响? 天津社保断缴有啥影响吗
- 天津社保缴费未满15年养老金能按月领取吗?
- 个人缴纳的社保算不算工龄 个人参加社保算工龄吗?
- 济宁儿童社保缴费 济宁市少儿医保报销标准
- 济宁社保补缴指南 济宁职工医疗保险补缴
- 济宁各区社保局地址一览 济宁市社保中心地址
- 济宁市社会保险服务大厅电话 济宁市社保险局办公服务电话大全
