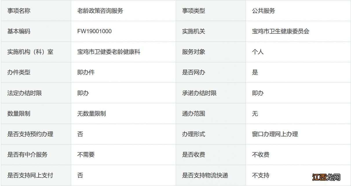
老龄政策咨询服务的基本信息

文章插图
受理地点:陕西省宝鸡市金台区卧龙寺街道 陈仓大道宝鸡市行政中心3号楼一楼东侧宝鸡市政务服务中心(办理窗口:综合窗口)
受理时间:夏令时:星期一至星期五上午08:30至12:00,下午14:00至17:30(法定节假日除外) 冬令时:星期一至星期五上午08:30至12:00,下午13:30至17:00(法定节假日除外)
申请条件
宝鸡市户籍人口即可咨询
申报材料
无
收费标准
不收费
【宝鸡哪里提供老龄政策咨询服务 宝鸡市老龄补贴标准】咨询电话:
0917-3262325
咨询窗口:
综合窗口
投诉电话:
0917-3261319
相关经验推荐
- 宝鸡结婚登记的受理地点 宝鸡结婚登记的受理地点在哪
- 在宝鸡结婚登记需要哪些材料? 在宝鸡结婚登记需要哪些材料和手续
- 宝鸡结婚登记的流程 宝鸡领结婚证流程
- 宝鸡市生育登记在哪办理手续 宝鸡市生育登记在哪办理?
- 宝鸡市生育登记表 宝鸡办理生育登记需要哪些资料?
- 宝鸡生育登记办理流程 宝鸡生育登记办理流程及费用
- 沃柑全年12个月管理及技术,沃柑产地集中在哪里
- 宝鸡职工终止劳动关系提取的申请条件
- 华为手机在哪里设置屏幕刷新率 华为手机如何设置屏幕刷新率
- 常州灵活就业人员养老保险缴费查询、打印入口在哪里?
