【济南办理商贷按月委托提取公积金的银行15日起增至15家】从7月15日起,在济南农村商业银行办理了商贷的职工,也可以委托公积金中心按约定的额度,逐月将本人的公积金转入个人账户 。
职工办理业务前需确认商贷的贷款账号,可到济南住房公积金服务大厅、市政务服务中心公积金窗口、高新区政务服务中心公积金窗口以及职工住房公积金缴存银行经办网点办理此项业务 。
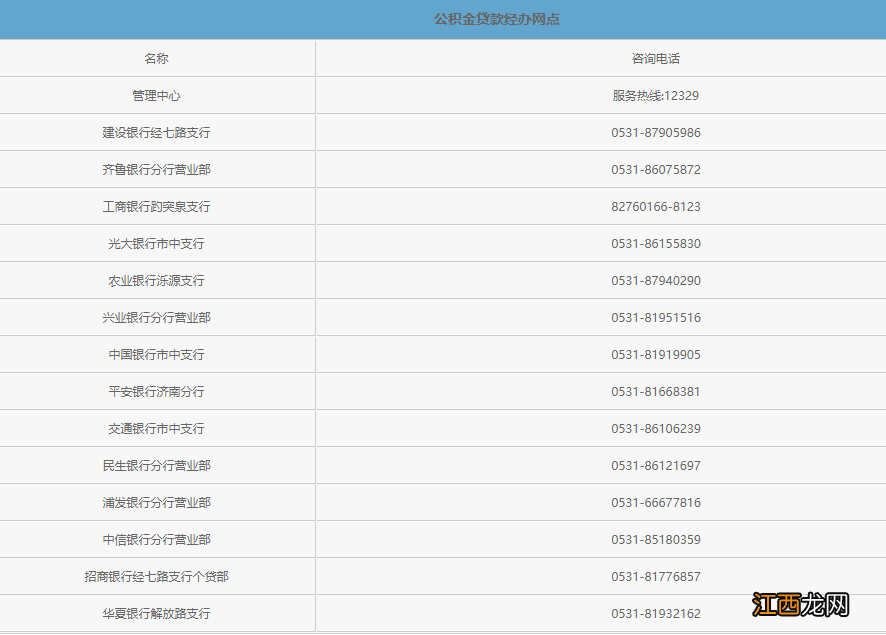
点击查询公积金缴存银行经办网点 。
目前,济南市可办理商贷按月委托提取公积金业务的商业银行有建行、工行、农行、中行、交行、中信、兴业、北京、齐鲁、民生、招商、光大、华夏、邮储、农商共15家银行 。

文章插图
相关经验推荐
- 济南住房公积金缴存 济南住房公积金缴存基数
- 济南公积金提取流程图 济南公积金提取流程
- 最新 济南公积金提取额度(济南公积金按月提取额度)
- 济南产假规定 山东济南产假规定
- 济南晚婚晚育的产假是多少天 山东产假多少天2019晚婚晚育
- 山东济南产假规定 济南产假申请
- 济南产假期间工资如何发放 山东的产假工资怎么发
- 济南市婚假规定 济南没有结婚可以享受产假吗
- 济南市南山区结婚证在哪里办 济南结婚证办理指南
- 济南高新区 济南高新区属于哪个区
